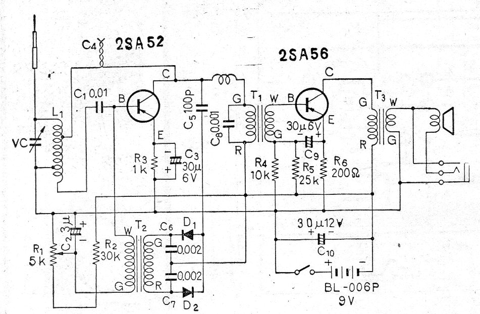
Encontramos este circuito en una publicación japonesa de los años 60. Los transistores son de germanio y los transformadores son los elementos críticos de este circuito. Estos transformadores se pueden obtener en radios transistorizados fuera de uso.




