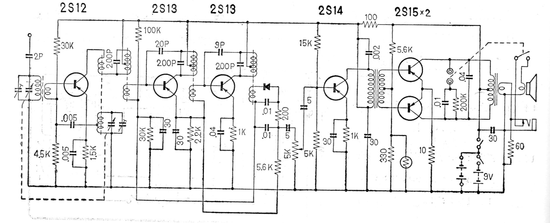
Esta radio comercial japonesa de 6 transistores fue fabricada en la década de 60. El receptor es del tipo super-heterodino con transistores de germanio y es alimentado por una tensión de 9 V.
En el circuito de la figura utilizamos dos de las puertas del 4093 como un biestable y las otras...
Este circuito simple se puede utilizar para reforzar la señal de fuentes que no son capaces de...
El circuito presentado fue encontrado en un Linear Applications Handbook de National Semiconductor de 1994....