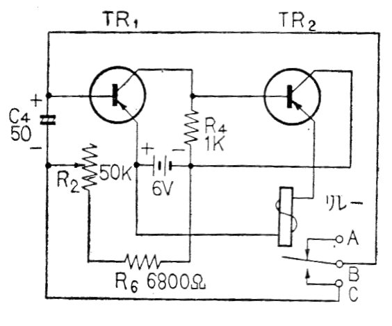
Este circuito de dos transistores fue encontrado en una revista japonesa de 1967. Los transistores son de germanio y el relé debe ser del tipo sensible a 6 V. El tiempo es dado por el condensador electrolítico y por el ajuste del potenciómetro.

Este circuito de dos transistores fue encontrado en una revista japonesa de 1967. Los transistores son de germanio y el relé debe ser del tipo sensible a 6 V. El tiempo es dado por el condensador electrolítico y por el ajuste del potenciómetro.
