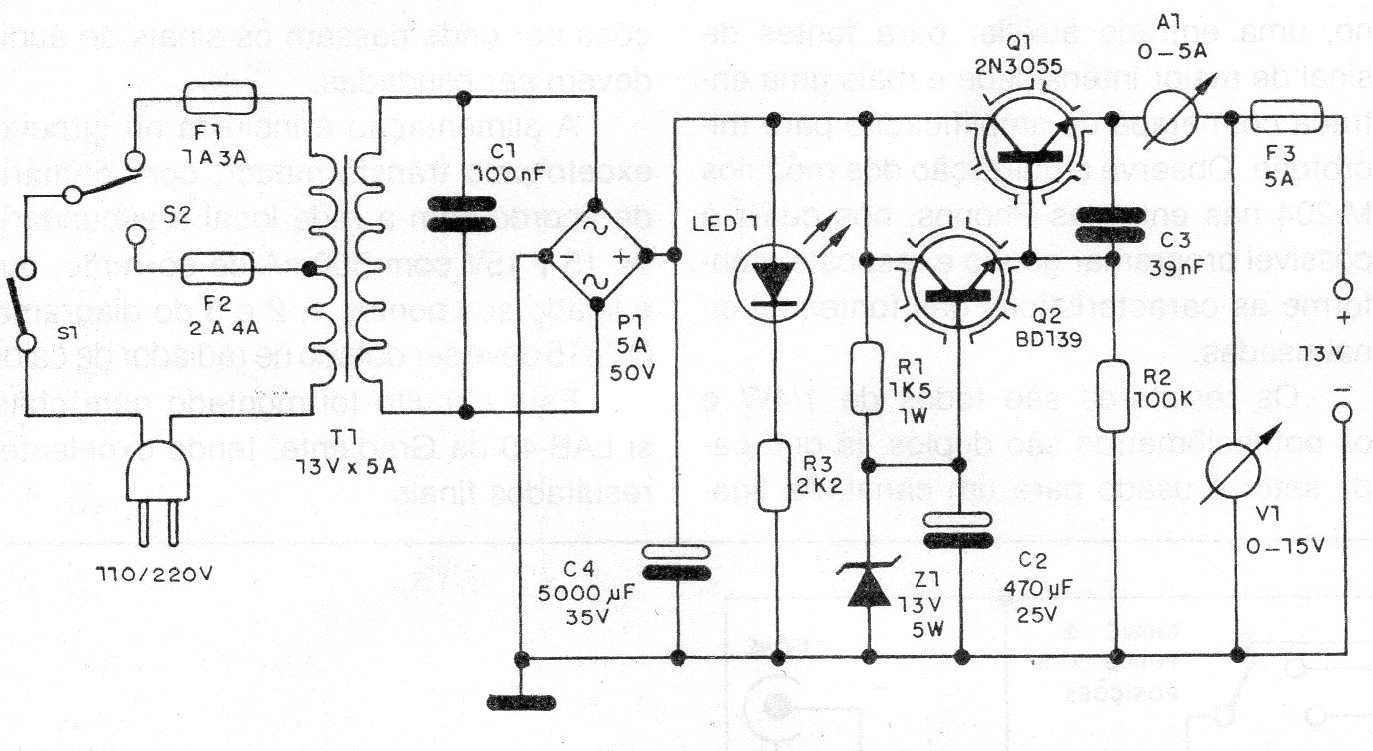
Esta fuente convencional con transistores fue encontrada en una documentación de 1989. Los transistores deben montarse en disipadores de calor y el puente de diodos puede ser reemplazado por 4 diodos de 5 A x 50 V. El circuito está indicado para la alimentación de radios y tocacintas antiguas de radios y también reproductores de CD hasta 5 A de corriente.




