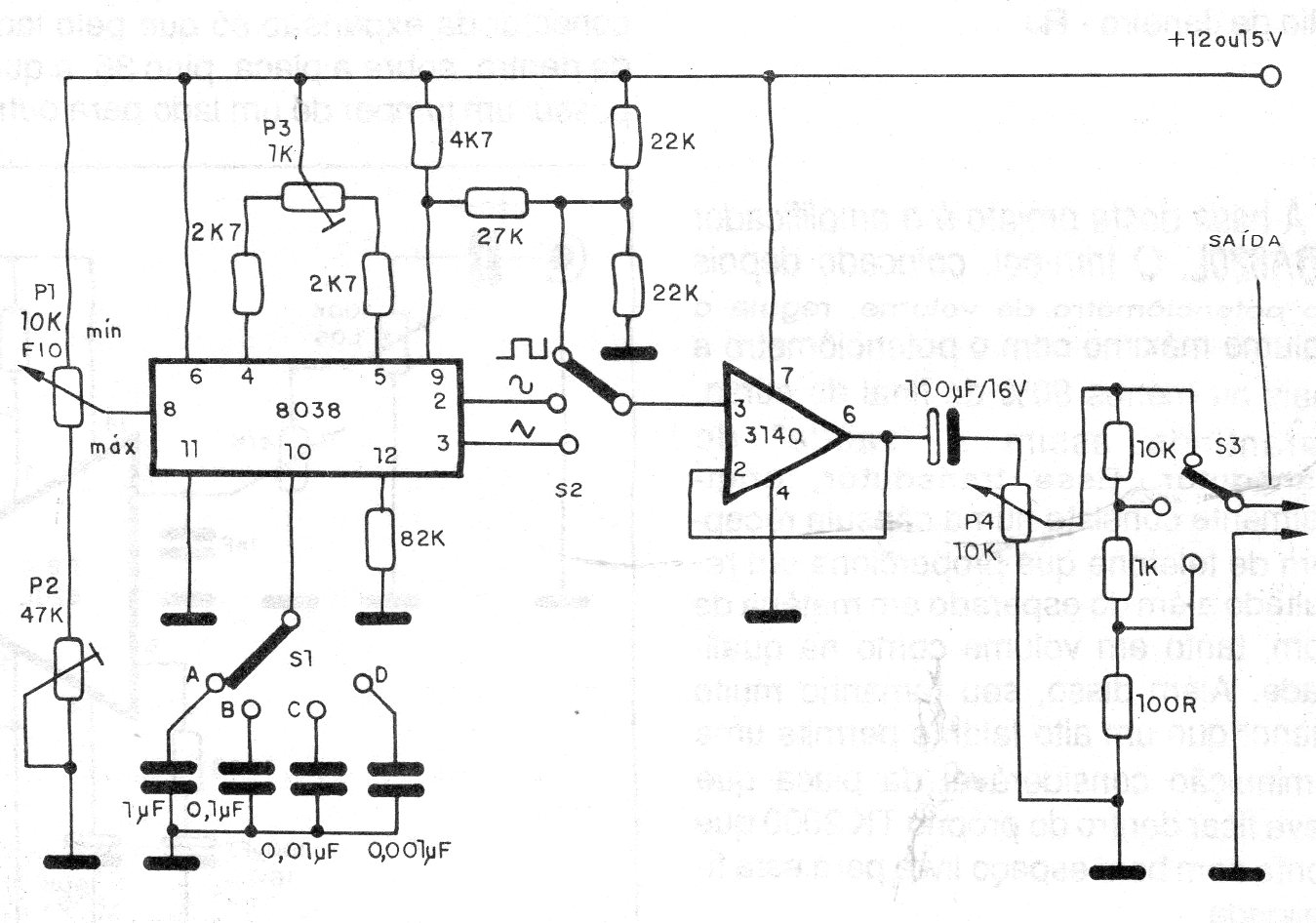
Este circuito de 1990 se basa en un integrado poco común actualmente que reúne todos los recursos para la elaboración de un generador de funciones. Este circuito de 4 bandas abarca las frecuencias de 100 Hz a 100 kHz y tiene un amplificador operacional en la salida con control de intensidad.




