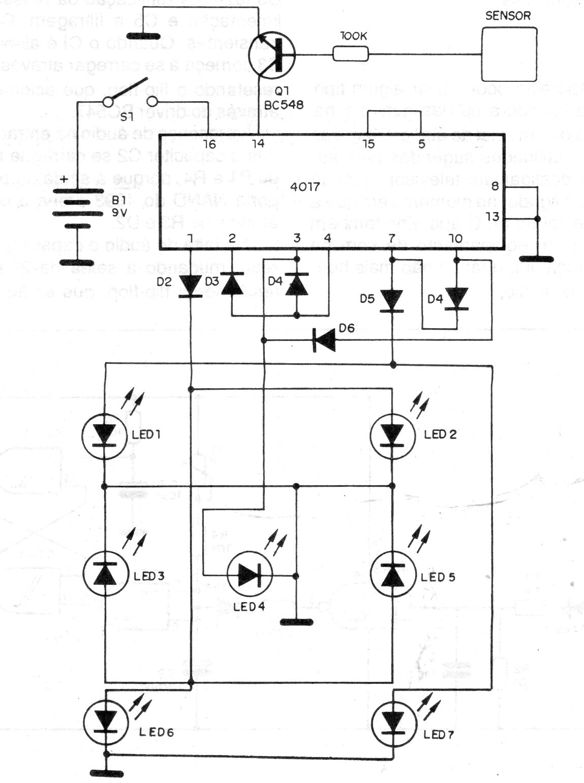
Esta es otra de las muchas versiones de dados electrónicos que tenemos en este sitio. Una vez más el circuito utilizado es el 4017 y el accionamiento se hace por tacto. El circuito puede ser alimentado por 4 pilas o batería. Nunca utilice fuente sin transformador.




