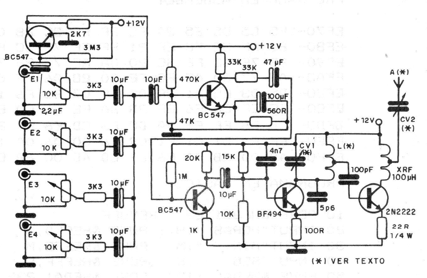
Este circuito de transmisor de FM incluye un mezclador de 4 entradas para ser utilizado como estación experimental. La bobina L tiene 4 espiras de hilo 18 o 18 en forma de 1 cm sin núcleo y XRF tiene 70 vueltas de hilo 32 en un resistor de 1M x ½ W. La alimentación de 12 V debe venir de fuente con excelente filtrado.




