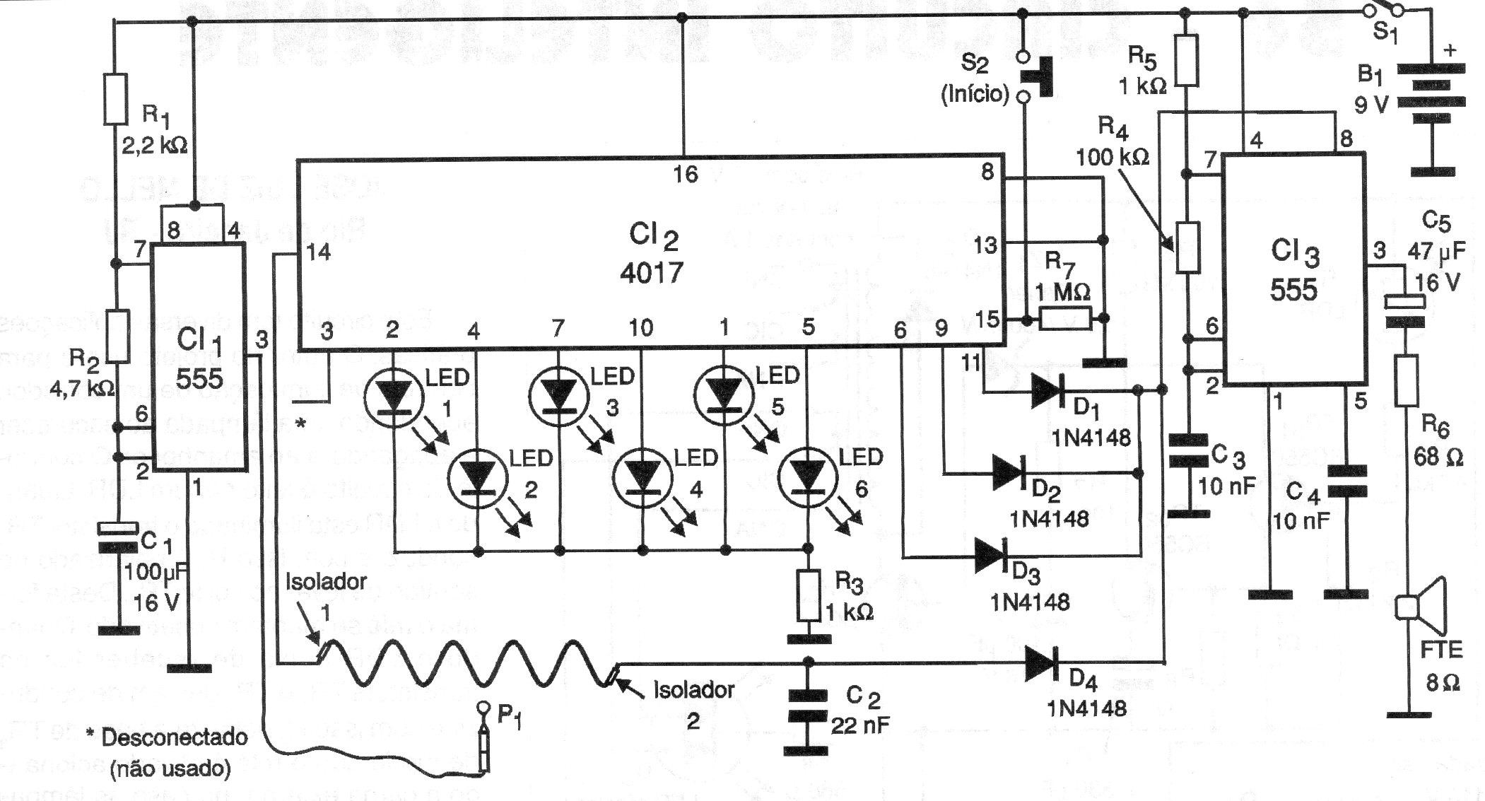
Este juego consiste en una variación del Nervo-Test con la diferencia que los errores se indican de forma secuencial (recuento) en los LED. Cuando el último LED se alcanza el siguiente error dispara un oscilador de advertencia, indicando que ha terminado la partida. El circuito es alimentado por pilas comunes o batería de 9 V.




