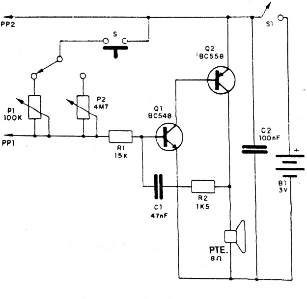
El valor de una resistencia entre 0 y 4M7 conectada entre las puntas de prueba puede ser determinado auditivamente por comparación de tono. Se ajusta P1 o P2, según la banda de valores y se presiona S para obtener el tono. Las escalas de los potenciómetros pueden ser graduadas. Una sugerencia es el uso por deficientes visuales que trabajan con electrónica, en cuyo caso las escalas serían en Braille.




