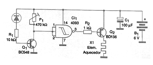
En la figura tenemos una posibilidad interesante que consiste en el accionamiento de un elemento de calentamiento cuando la temperatura verificada por el sensor baja. El ajuste del punto del disparo se realiza en P1. El elemento de calentamiento para el transistor indicado debe drenar una corriente máxima de 500 mA. Para mayores corrientes se deben utilizar transistores de mayor potencia como el TIP32 o incluso Darlingtons. El elemento de calentamiento puede ser un resistor de hilo de valor apropiado. Este valor se calcula para obtener el calentamiento con la corriente disponible en el circuito. Por ejemplo, podemos usar un resistor de 10 W, generando 8 W de calor.
R = P / I2
Donde:
P = 8 W
I = 0,5 A (500 mA)
Nos quedamos como:
R = 8 / 0,25
R = 32 ohms




