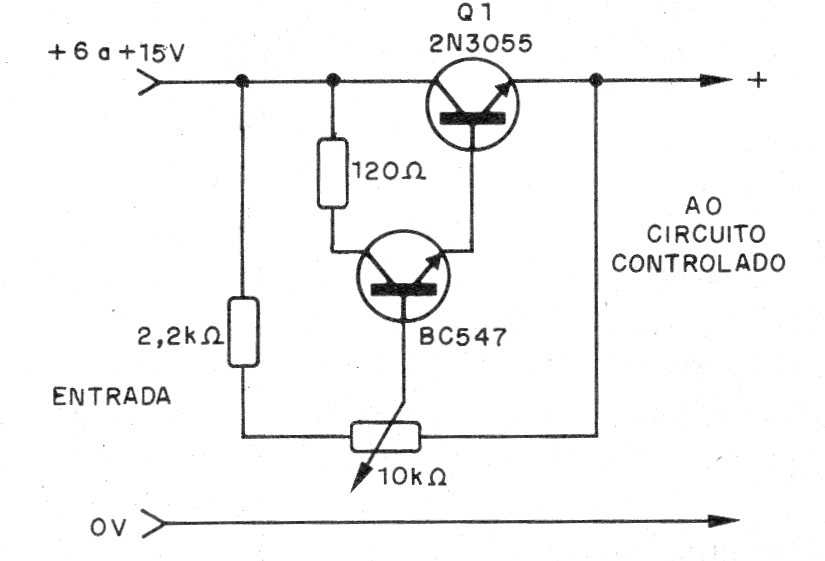
Con este circuito podemos controlar la corriente aplicada a una carga DC hasta 3 A. El transistor de potencia debe estar dotado de disipador de calor y el potenciómetro no necesita ser de hilo. La tensión máxima de entrada es de 15 V.
Con sólo un transistor (PNP o NPN) usted puede hacer un teléfono de juguete con buen rendimiento gracias...
En la figura 1 tenemos un oscilador controlado a cristal que puede generar señales en el rango de...
Este circuito se destina al control de cargas de corriente continua en el rango del 0 a 15 V con...