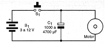
Este circuito es indicado para la aplicación que el motor no debe girar sino dar un pequeño impulso en algunos dispositivos por el toque en un interruptor de presión. Como muestra la figura lo que tenemos es un condensador de valor muy alto conectado en paralelo con el motor de corriente continua. Cuando damos un toque en el interruptor de presión el capacitor se carga y luego se descarga por el motor manteniendo en funcionamiento por algunos segundos, dependiendo de su corriente. En lugar de S1 como interruptor común de presión se pueden utilizar sensores como, por ejemplo, relés, reed-switches, micro-switches y otros dispositivos que produzcan pulsos cortos de corriente.




