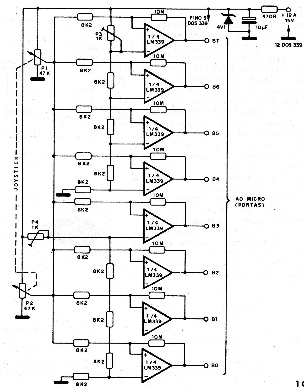
Dos potenciómetros montados en ángulo recto, para poder ser accionados por una palanca, forman un joystick bastante eficiente y muy usado en sistemas de control remoto proporcionales para aeromodelos, coches y barcos. Si usted posee uno de estos joysticks, puede convertir su funcionamiento de analógico a digital con el circuito propuesto en la figura. Este circuito tiene como base dos comparadores de tensión cuádruples del tipo LM339 o CA339 (ver artículo sobre estos componentes en el sitio), que proporcionan salidas escalonadas en 4 posiciones del potenciómetro. Estas salidas se pueden dividir en 4 bandas para cada potenciómetro, según la tabla dada.





