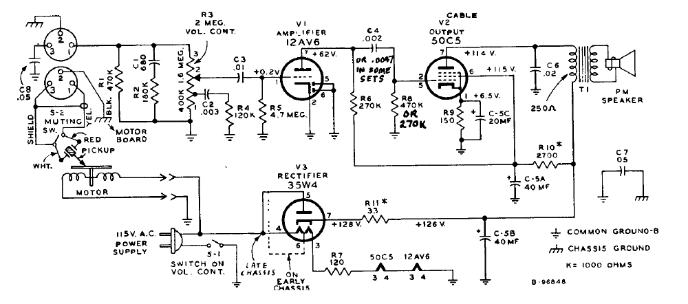
Este circuito, encontrado en un manual de 1950, m utilizaba 3 válvulas en una configuración de pocos vatios de salida. El circuito tenía los filamentos en serie y ya alimentaba el motor del tocadiscos.
Esta versión del juego de habilidad conocido como Nervo-prueba no da golpes en nadie, pero también...
Hay cientos de circuitos integrados dedicados que permiten la implementación de pequeños...
La finalidad de este proyecto didáctico es matriz de 170 puntos es mostrar cómo un multivibrador astable...