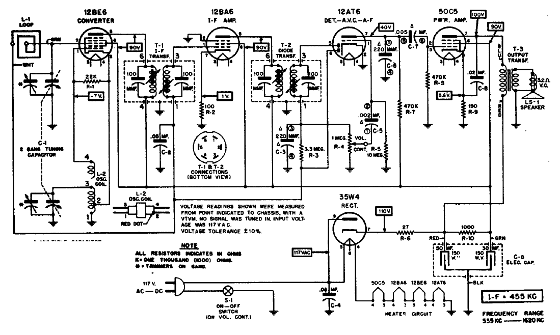
Esta radio AC DC de 5 válvulas tiene una configuración común, con FI de 455 kHz. Los filamentos de las válvulas se conectan en serie.
Una solución bastante atractiva aún en nuestros días para un amplificador de baja potencia simple...
Lo que describimos es un pequeño móvil que funciona con pilas comunes. El circuito consiste en un...
Cuando aprieta el gatillo (S1) y el relé abre y cierra los contactos rápidamente produciendo un ruido...