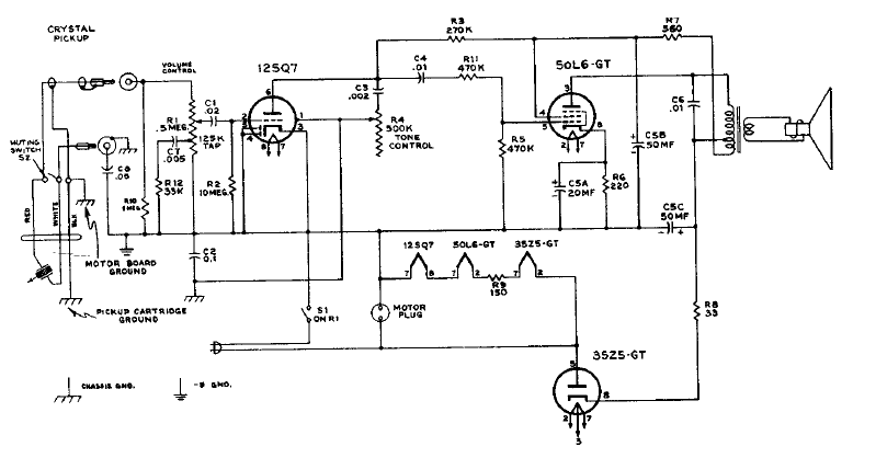
Encontrado en un manual de la época este simple amplificador, con potencia del orden de 1 W tenía los filamentos conectados en serie y entrada para fonocaptor de cristal.
Este circuito también puede ser implementado con llaves ópticas para accionamiento desde encoders u...
Este circuito utiliza como indicadores dos LED que deben apagar cuando se alcanza el punto de...
Los osciladores por Puente de Wien producen señales senoidales de bajas frecuencias de excelente...