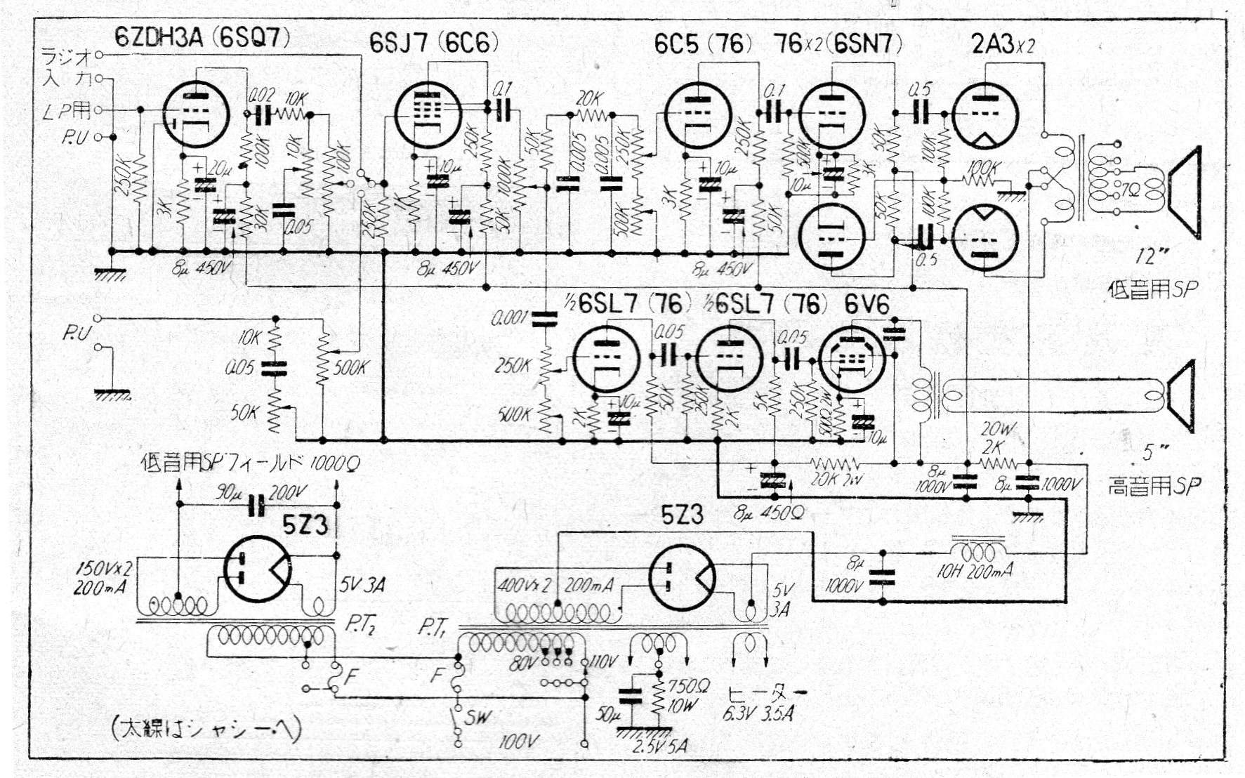
Este potente amplificador con válvulas 2ª3 en la salida fue encontrado en una publicación japonesa de la época. La salida es push-pull clase B con un circuito de excitación inversor sin transformador. Algunas válvulas son poco conocidas actualmente y ciertamente difíciles de obtener. El circuito cuenta con un segundo canal de agudos.




