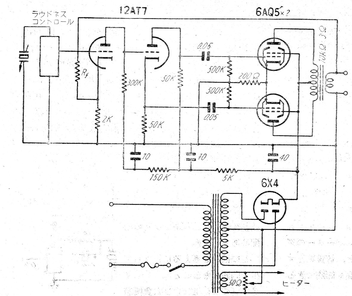
Este amplificador de algunos vatios de potencia con transformador lineal fue encontrado en una revista japonesa de los años 50. El circuito utiliza 4 válvulas, siendo una doble y tiene salida en contrafase con las válvulas 6AQ5, La fuente de alimentación se incluye con un potenciómetro de ajuste para tierra del filamento que reduce el ronquido.




