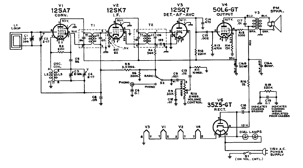
Este receptor de 5 válvulas de la década de 50 se destinaba a la recepción de las estaciones de la banda de ondas medias. La configuración era bastante simple con los filamentos de las válvulas conectadas en serie.
Este relé de luz o sobre, según las posiciones del LDR y de P1 es extremadamente sensible, pues utiliza...
Este sistema permite bloquear un relé con un simple toque en un interruptor de presión. Podemos...
Este proyecto permite emular un foto-tiristor, es decir, una foto SCR usando un fototransistor común...