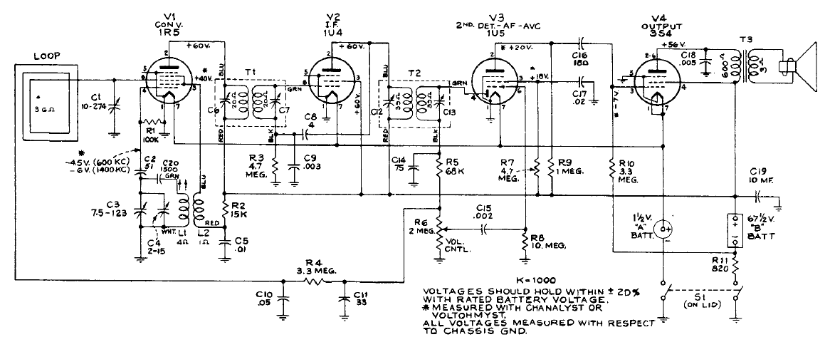
Los receptores portátiles de la época eran alimentados por dos baterías, una de baja tensión y otra de alta tensión. Es el caso de este circuito para ondas medias de la RCA.
Cuando tocamos un componente en el interruptor del cuarto de estar, podemos obtener dos niveles de...
Una aplicación inmediata para este circuito es en la señalización de puertas de garaje, haciendo...
Este circuito ayuda a aumentar la intensidad de las señales captadas por una antena antes de que...