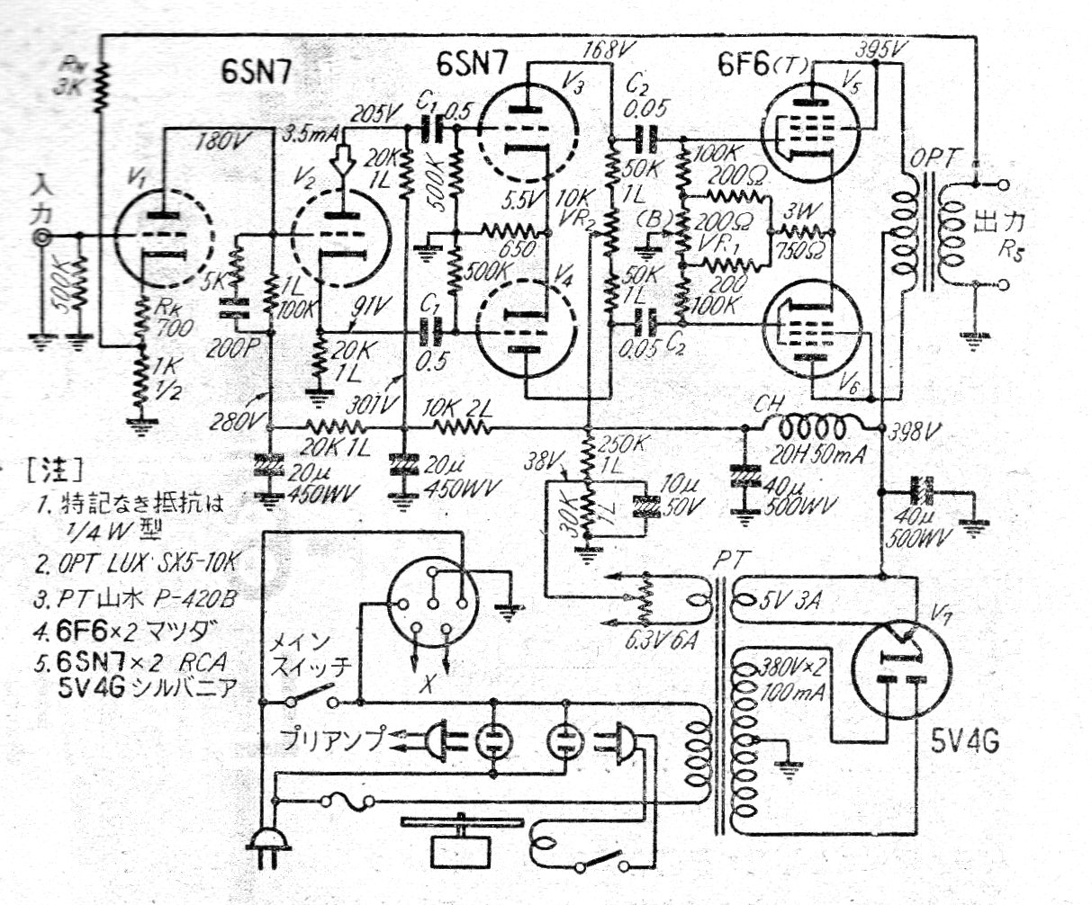
Este buen amplificador de audio fue encontrado en una publicación japonesa de 1955. El circuito tiene salida en push-pull proporcionando algunas decenas de watts. Se incluye la fuente de alimentación.
Después de montar algún aparato que debe ser alimentado por la red de energía, los lectores menos...
Una pequeña fuente de alimentación que presenta en la Figura 1 es ideal para los experimentos de...
Este es un simple montaje que puede ser utilizado en diversas aplicaciones tales como decoración,...