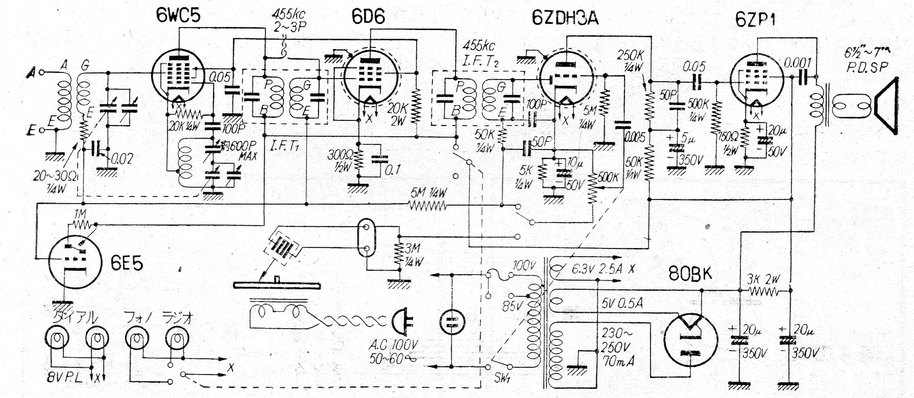
Este es el circuito de una radio con tocadiscos de mesa vendidos en Japón en los años 50. La radio con la banda de AM sólo tenía un tocadiscos con amplificador de algunos watts y buena calidad de sonido. Algunas válvulas usadas son poco comunes.
El circuito acciona un piezoeléctrico que emitirá bips intervalos cuya frecuencia e intervalo...
Con este circuito podemos probar capacitores cerámicos, poliéster, styroflex y otros tipos no...
Al montar este circuito en una matriz de 170 puntos podemos aprender cómo una configuración de oscilador con...