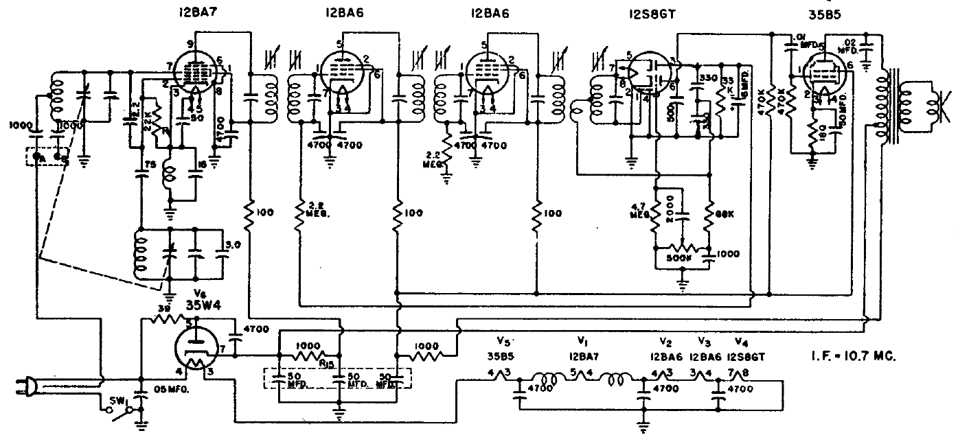
Este receptor, sólo para el rango de FM, es de 1950. El circuito tenía la misma configuración de un AM super-heterodino común, con la diferencia básica de usar FIs de 10,7 MHz, para el rango de 88 a 108 MHz. El circuito tenía los filamentos de las válvulas conectadas en serie.




