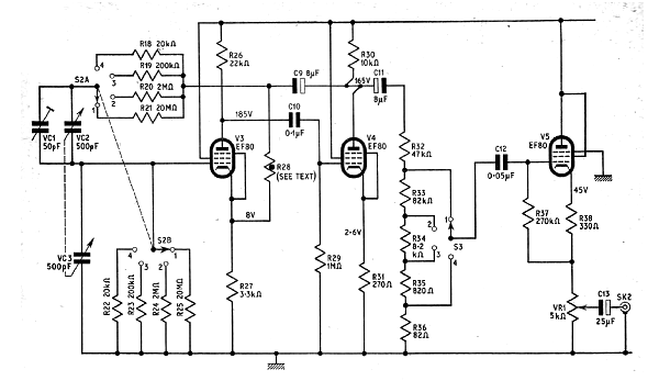
Este circuito es de una documentación de 1968. La alimentación se hace con tensiones de 200 a 300 V y las válvulas pueden ser equivalentes. La precisión de las señales depende de las resistencias usadas.

Este circuito es de una documentación de 1968. La alimentación se hace con tensiones de 200 a 300 V y las válvulas pueden ser equivalentes. La precisión de las señales depende de las resistencias usadas.
