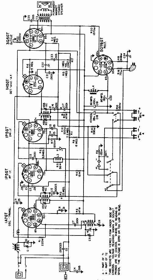
La red de tiendas Sears tenía su propia línea de productos, incluyendo la radio cuyo esquema se da a continuación. Se trata de un receptor con válvulas propias siguiendo diferentes nomenclaturas, pero de configuración común a los radios de la época.

Radio Sears Modelo 7093 de 1942



