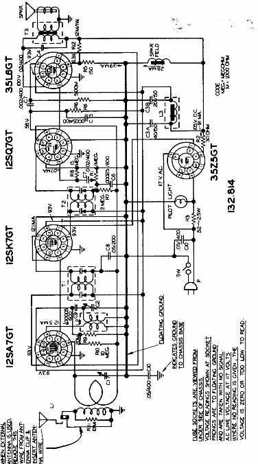
Esta radio de 5 válvulas de 1942 era fabricada por la propia red de tiendas Sears que tenía su línea de productos propios en la época. La radio es del tipo AC / DC con los filamentos de las válvulas conectadas en serie.

Radio Sears de 1942
Esta radio de 5 válvulas de 1942 era fabricada por la propia red de tiendas Sears que tenía su línea de productos propios en la época. La radio es del tipo AC / DC con los filamentos de las válvulas conectadas en serie.
