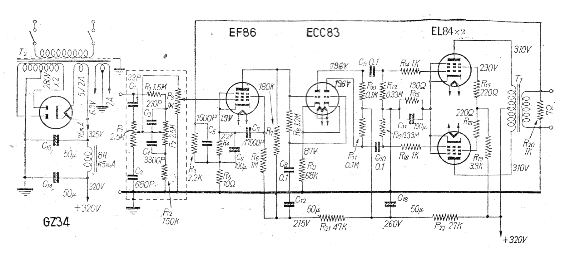
El amplificador presentado proporciona excelente potencia utilizada dos válvulas EL84 en una salida push-pull clase B. Encontramos el proyecto en una revista japonesa, traducción de la Radio Experimenter's Magazine americana de 1955. La potencia máxima es del orden de 10 W.




