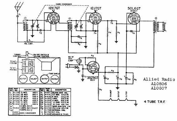
El circuito presentado es de un receptor comercial del tipo "cola caliente" con alimentación directa. El circuito tiene gran sensibilidad se utilizaba en la red de 110 V.

Receptor AM de 4 Válvulas de 1940
El circuito presentado es de un receptor comercial del tipo "cola caliente" con alimentación directa. El circuito tiene gran sensibilidad se utilizaba en la red de 110 V.
