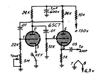
Este circuito genera una señal de audio que se puede utilizar para la práctica de la telegrafía. El potenciómetro de tono puede ser de 470k y la alimentación puede ser obtenida del propio amplificador con el cual el circuito operará. Los resistores de 24k pueden ser de 22k que es el valor estandarizado actual. Otros dobles triodos se pueden utilizar.

Multivibrador Astable Valvulado



