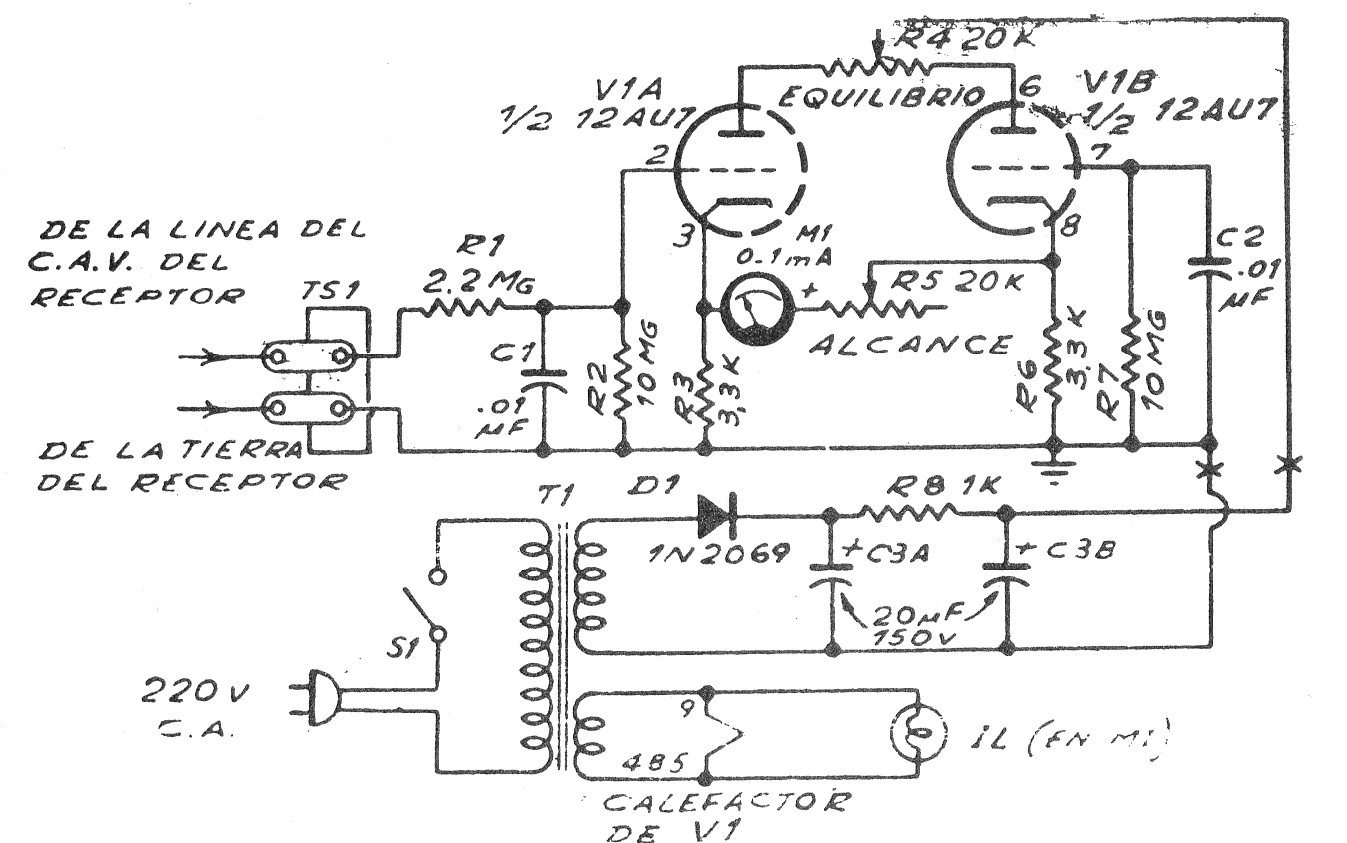
Los S- meter o Esímetros miden la intensidad de la señal que un receptor está sintonizando. En los receptores antiguos eran muy común el uso de este tipo de recurso, principalmente los tipos de telecomunicaciones y radioaficionados. El circuito presentado es de la época, sirviendo como referencia para la recuperación de un equipo antiguo.




