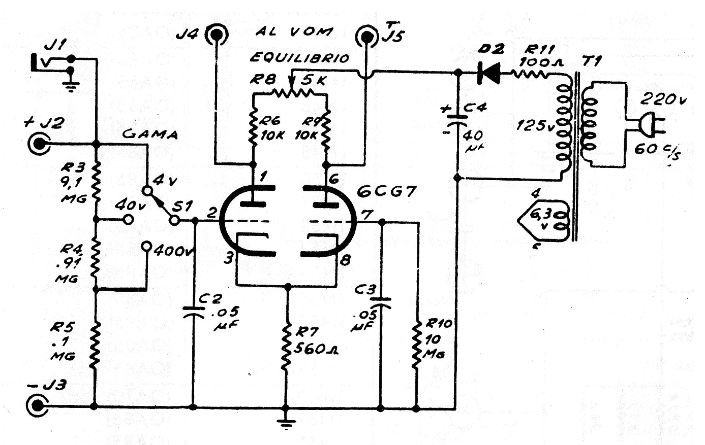
Este circuito antiguo (1973) se utilizaba para hacer un multímetro común un multímetro de alta impedancia o multímetro a la válvula como era común en la época en que no existían los multímetros digitales. Si el lector encuentra un transformador con las características requeridas y una válvula 6CG7 puede montar este circuito y utilizarlo con un multímetro analógico común, aumentando su sensibilidad de entrada. El potenciómetro de equilibrio puede ser de 4k7. Los resistores de entrada deben ser precisos.




