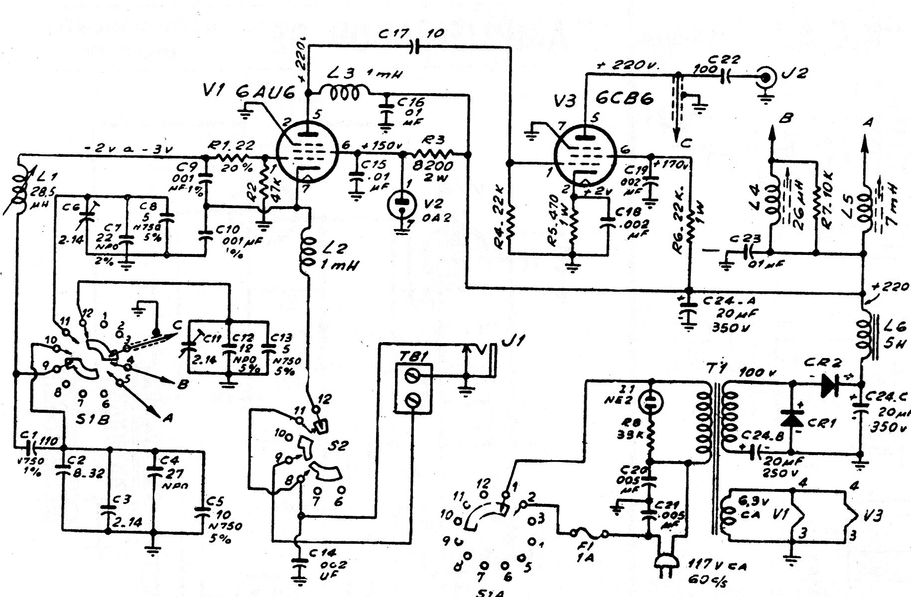
Este es el circuito de un oscilador de frecuencia variable para banco de EICO, fabricado en la década de 1970. El esquema sirve como referencia para la reparación, recordando que algunos componentes son críticos como bobinas y capacitores del oscilador, pues ellos determinan la precisión del aparato. El circuito sirve para ayudar en eventuales reparaciones.




