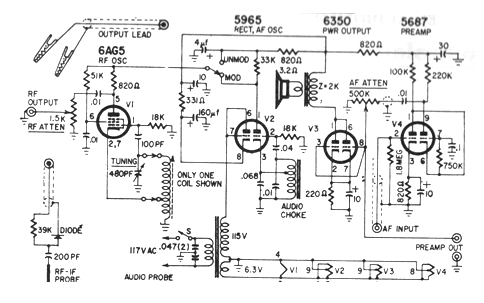
Este es el circuito de un equipo de prueba comercial que genera señales de 250 kHz a 120 MHz con o sin modulación. Las frecuencias más altas se obtienen a partir de armónicas. El gran problema en la eventual reproducción de este equipo es encontrar las válvulas y también las bobinas que determinan la precisión de la señal generada. Vale el circuito sólo para referencia en caso de necesidad de reparación.




