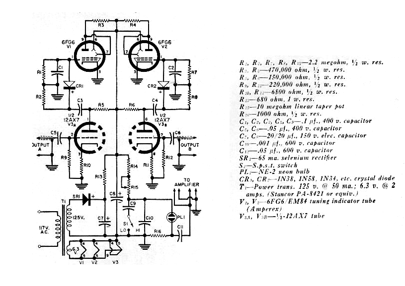
Este circuito de una revista de 1961 genera una señal doble de audio a través de dos multivibradores, cuya finalidad es facilitar la prueba de equipos de audio. El circuito hace uso de válvulas dobles y los componentes críticos son las válvulas y el transformador.




