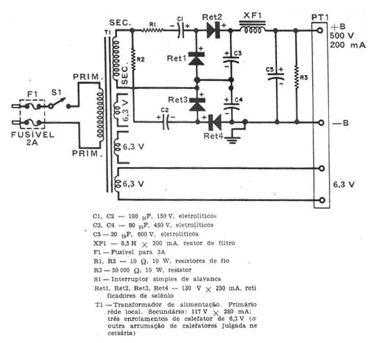
Esta fuente fue obtenida en una revista de 1969. El componente crítico es el transformador y el choque de filtro que, sin embargo, pueden ser obtenidos de equipos valvulados antiguos fuera de uso. Los diodos pueden ser los 1N4007 y los electrolíticos deben tener tensiones compatibles con la aplicación.

Fuente de alta tensión para válvulas



