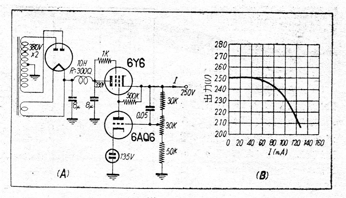
Esta fuente de alta tensión para aparatos valvulados fue encontrada en una antigua documentación japonesa de los años 50. En el gráfico tenemos la tensión de salida en función de la corriente de carga. El circuito utiliza una válvula reguladora de tensión de gas.




