L
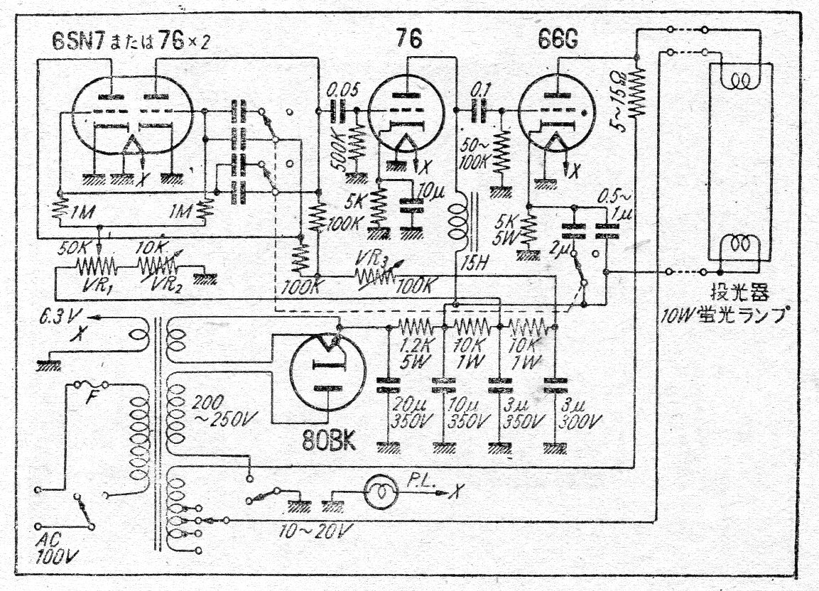
Este interesante circuito de los años 50 utiliza una lámpara fluorescente para obtener un estroboscopio útil en la medida de la rotación de motores. El circuito utiliza una válvula de potencia para controlar la lámpara fluorescente de 10 W.
L
Este interesante circuito de los años 50 utiliza una lámpara fluorescente para obtener un estroboscopio útil en la medida de la rotación de motores. El circuito utiliza una válvula de potencia para controlar la lámpara fluorescente de 10 W.