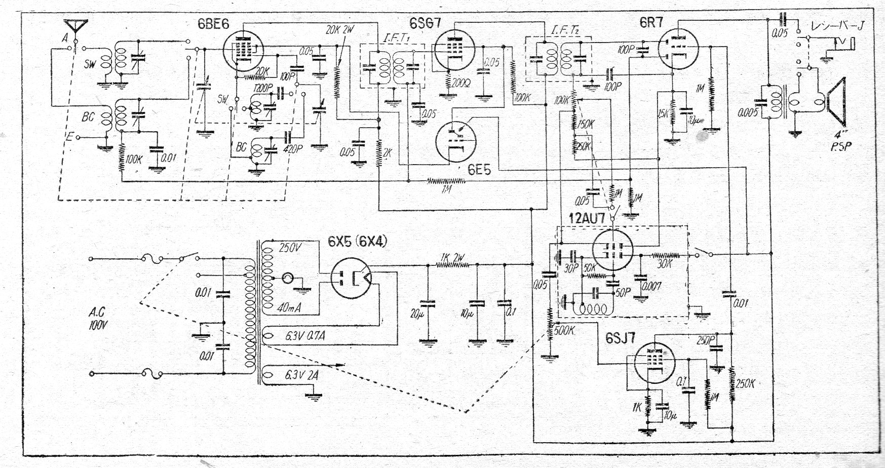
Encontramos este circuito de receptor super-heterodino para la banda de ondas medias y cortas en una revista japonesa de los años 50. El circuito de 6 válvulas incluía fuente de alimentación con transformador y salida para auriculares.
Encontramos este circuito de receptor super-heterodino para la banda de ondas medias y cortas en una revista japonesa de los años 50. El circuito de 6 válvulas incluía fuente de alimentación con transformador y salida para auriculares.