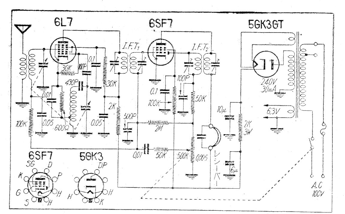
Este receptor de los años 50 era indicado para escucha de la banda de ondas medias en auricular de alta impedancia. El circuito de 3 válvulas tenía una excelente sensibilidad e incluía la fuente de alimentación con una de las válvulas. El pináculo de las válvulas se indica en el diagrama.




