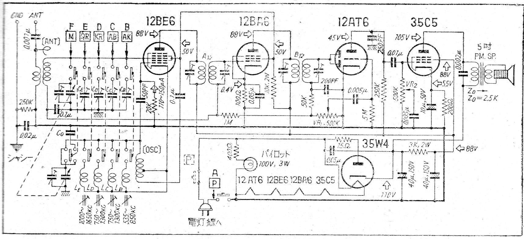
Esta radio de varias bandas sin transformador (cola caliente) es de los años 60 habiendo sido encontrada en una documentación de la época. El circuito utiliza el sistema de alimentación de los filamentos en serie resultando en 100 V que es la tensión de la red de Japón en la época.




