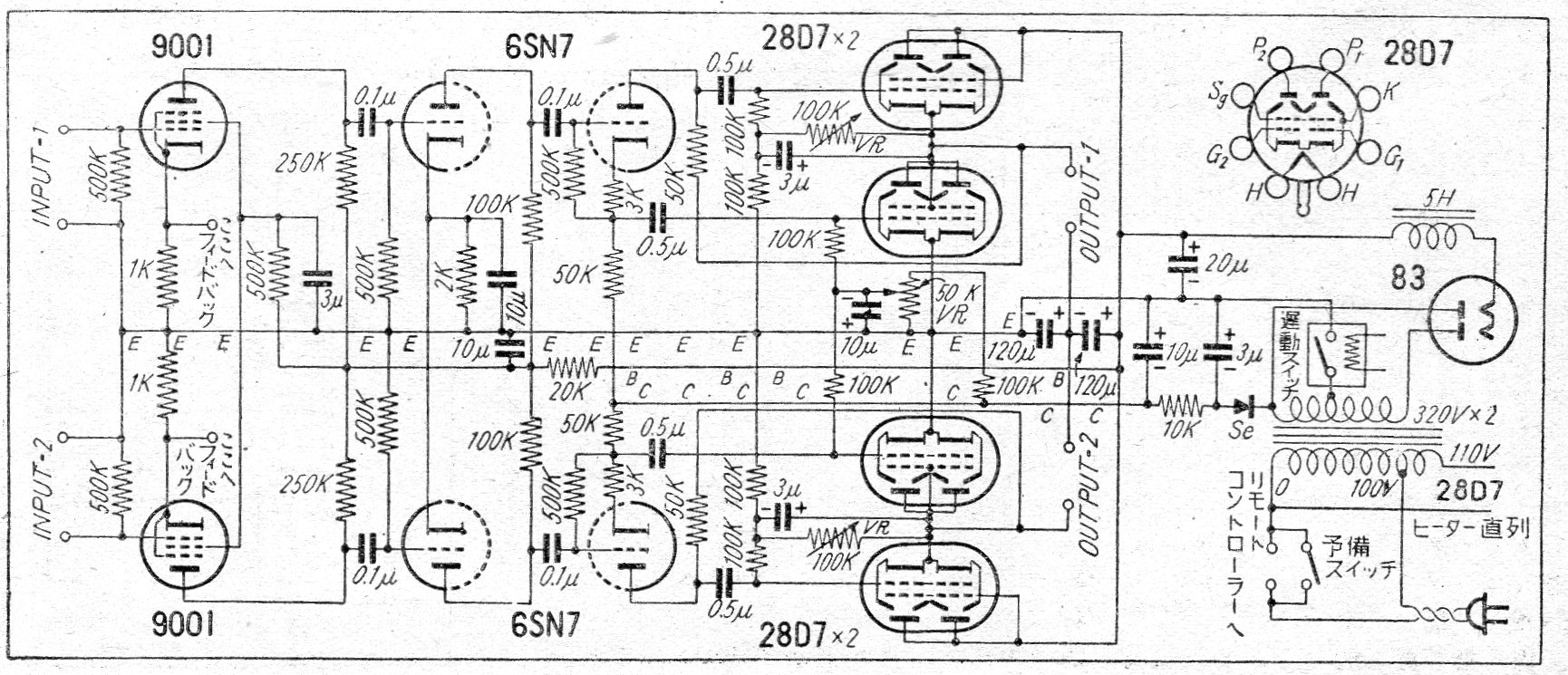
Este antiguo amplificador valvular (2807) de algunos watts fue encontrado en una revista japonesa de los años 50. Todos los componentes principales como válvulas y transformadores son raros hoy. El circuito es estéreo proporcionando los dos canales.
Este antiguo amplificador valvular (2807) de algunos watts fue encontrado en una revista japonesa de los años 50. Todos los componentes principales como válvulas y transformadores son raros hoy. El circuito es estéreo proporcionando los dos canales.