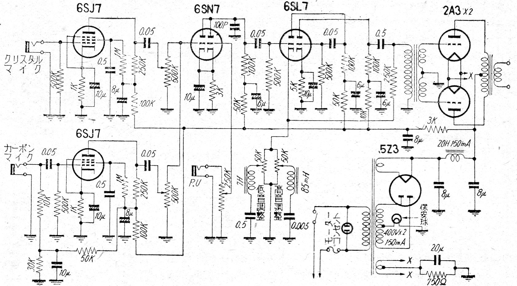
Este circuito es de los años 50 habiendo sido encontrado en una documentación de la época. El circuito utiliza 7 válvulas siendo su salida en contrafase (push-pull) con dos transformadores. El circuito tiene dos entradas, según las fuentes de señales, con las válvulas preamplificadoras correspondientes.




