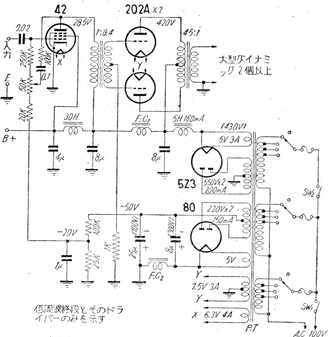
Este amplificador de audio de buena potencia fue encontrado en una publicación de los años 50. El circuito tiene una doble fuente con dos válvulas rectificadoras de la época. No se ha indicado la potencia en la publicación japonesa original.
Este amplificador de audio de buena potencia fue encontrado en una publicación de los años 50. El circuito tiene una doble fuente con dos válvulas rectificadoras de la época. No se ha indicado la potencia en la publicación japonesa original.