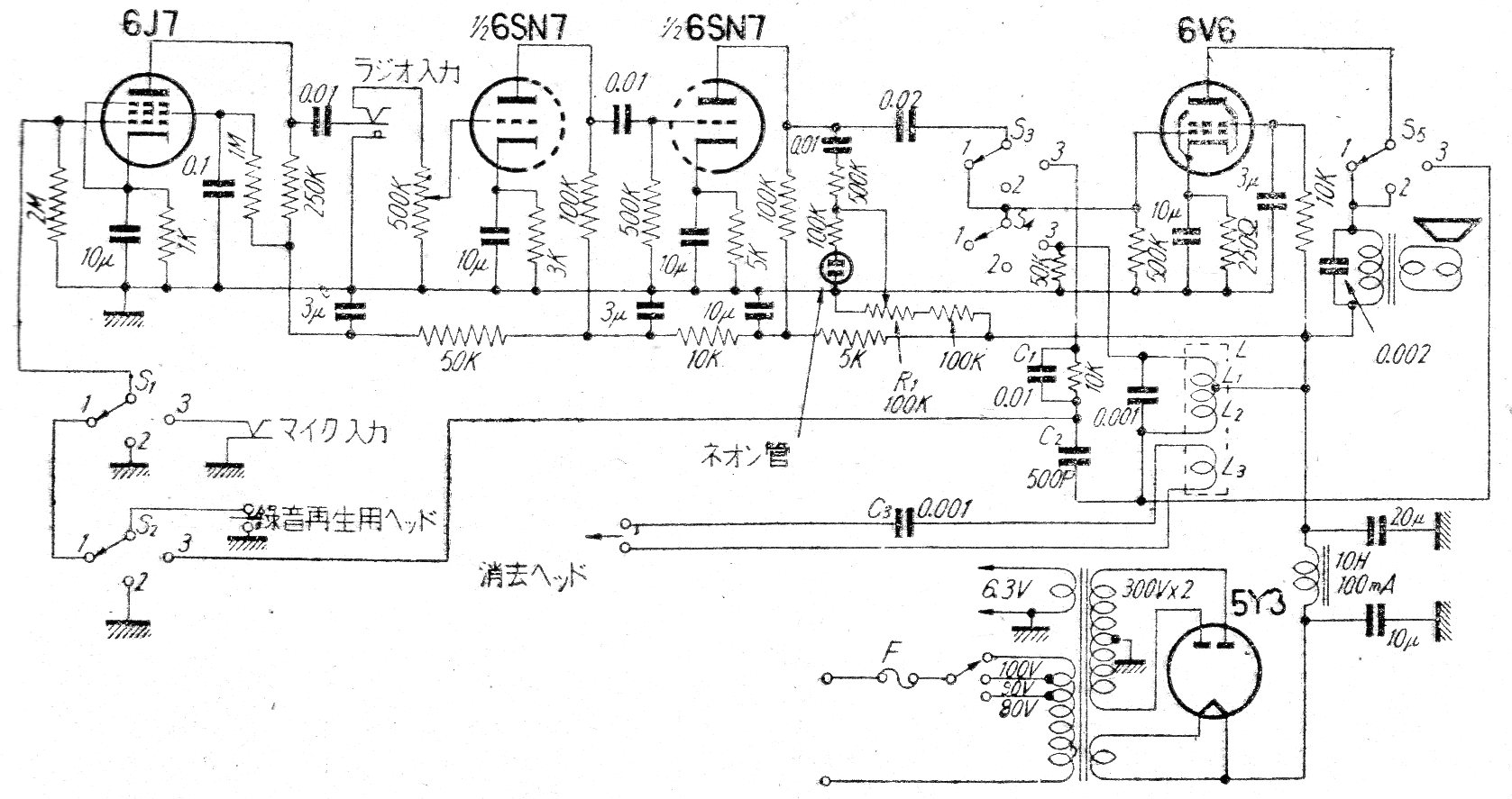
Este amplificador valvular se utilizaba en grabadores de cinta (rodillo) del tipo que se encontraba en los años 50. El circuito es de una documentación japonesa de la época. Los componentes son de la época y se incluye la fuente de alimentación.
Este amplificador valvular se utilizaba en grabadores de cinta (rodillo) del tipo que se encontraba en los años 50. El circuito es de una documentación japonesa de la época. Los componentes son de la época y se incluye la fuente de alimentación.