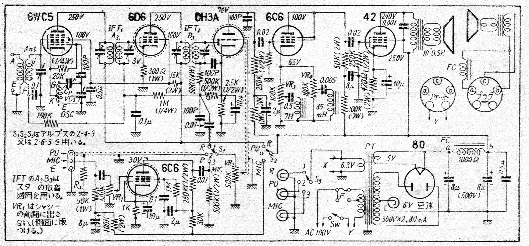
Este circuito de receptor valvulado fue encontrado en una documentación de 1950. El circuito es del tipo super-heterodino y tiene entrada de fonocaptor para tocadiscos. Las válvulas son de tipos de época.

 

Receptor Valvulado de 1950
Receptor Valvulado de 1950 | Haga click en la imagen para ampliar |