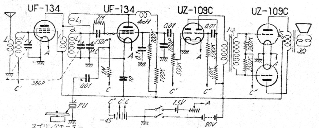
Este radio receptor de 1950 fue encontrado en la versión japonesa de la revista The Radio Experimenter Magazine. Utiliza 5 válvulas y tiene una buena potencia de audio. El circuito incluye una entrada para tocadiscos y es alimentado por dos baterías, una de baja y otra de alta tensión.




