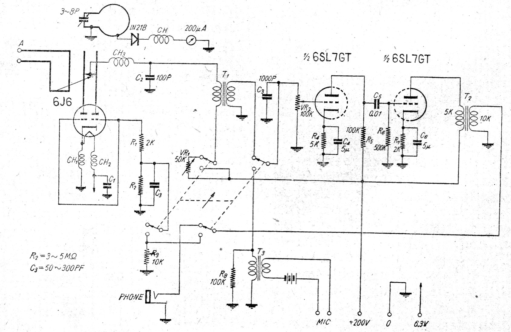
Este circuito valvular de transceptor para el rango de UHF fue encontrado en una publicación de 1950. Los elementos críticos son las bobinas que en realidad son pedazos rectos de hilo que tienen la longitud que resulte en la inductancia deseada. El circuito no incluye la fuente de alimentación.




