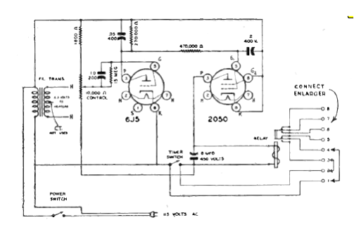
Esta interesante configuración valvulada de temporizador fue encontrada en una revista americana de 1950. El circuito utiliza dos válvulas y el elemento crítico (además de las válvulas) es el relé de alta tensión (110 V) y alta impedancia (baja corriente). El circuito proporciona intervalos de 1 segundo a 60 segundos ajustados por el potenciómetro. La alimentación viene de la red de 110 V (117V). El transformador proporciona la tensión para los filamentos de las válvulas de 6 V.




