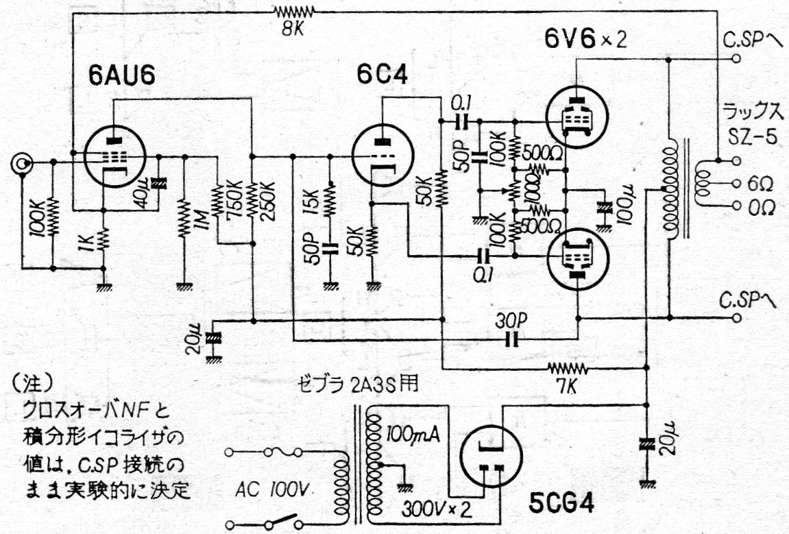
Este amplificador de buena potencia fue encontrado en una publicación japonesa de 1962. Los componentes ya no son comunes en nuestros tiempos, pero las válvulas aún pueden ser obtenidas en proveedores especializados.

 

Amplificador 6V6
Amplificador 6V6 | Haga click en la imagen para ampliar |