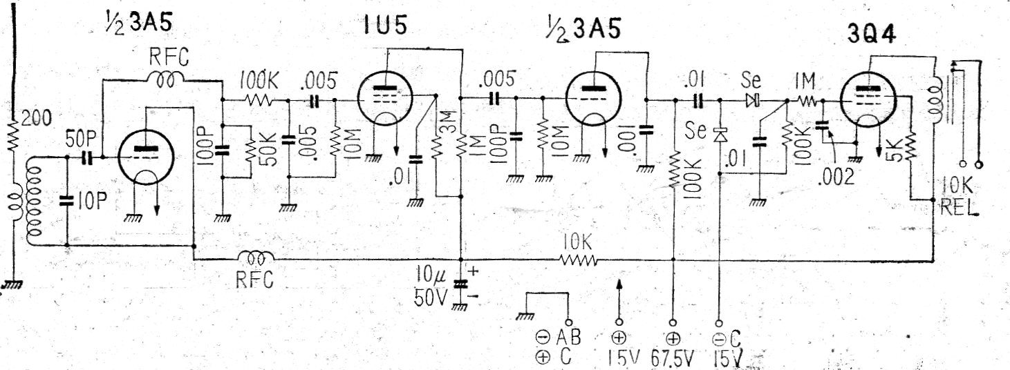
Este receptor de control remoto monocanal es de una documentación japonesa de 1962. Las válvulas ya no se pueden encontrar, así como el relé. El circuito funciona con una pila de 1,5 V para los filamentos y una batería de 67,5 V para el sector de alta tensión.




